Registro
Inicia sesión
Lista de deseos
0
Cesta
0
No tienes artículos en tu cesta.
Búsqueda
Ofertas
Amarre y Fondeo
ACC. DE MOLINETES
ANCLAS
BOYAS
CABO AMARRE/ FONDEO
CABULLERIA
CADENA Y ACCESORIOS
DEFENSAS
FUNDAS PARA DEFENSAS y ACCESORIOS
MOLINETES DE ANCLAS QUICK
MOLINETES DE MANIOBRAS QUICK
MUELLES /AMORTIGUADORES DE AMARRE
POLEAS
VARIOS AMARRE Y
Casco y cubierta
BICHEROS
CAJONES PLASTICO
ESCALERAS
GRILLETERIA / SACAVUELTAS
HERRAJES
MOSQUETONES/GUARDACABOS
PASARELAS
PERFILES PARABORDA
PESCANTES
PLATAFORMAS DE BAÑO
PORTACAÑAS
RACORERIA / PASACASCOS / TOMA DE AGUA
REMOS Y PAGAYAS
TOLDOS Y ACCESORIOS
RESPIRADEROS/TOMAS DE CUBIERTA /DE COMBUSTIBLE / TAPONES
Electricidad
ACC. BOMBAS DE ACHIQUE
ACC. BOMBAS DE PRESION
BOCINAS ELECTRICAS
BOMBAS ACEITE/GASOIL
BOMBAS DE ACHIQUE
BOMBAS DE PRESION
BOMBILLAS
CABLE ELECTRICO
BATERIAS Y ACCESORIOS
BASE, CONECTORES Y CABLES CUBIERTA
FAROS
INTERRUPTORES / TIRADORES
JABSCO/FLOJET
LIMPIAPARABRISAS
LUCES DE INTERIOR
LUCES DE NAVEGACION
PLACAS Y FUSIBLES
VARIOS ELECTRICIDAD
AIRES ACONDICIONADOS
GENERADORES
POTABILIZADORAS
Habitabilidad
ACC. DEPOSITOS AGUAS NEGRAS
ACC. DEPOSITOS DE AGUA
ACCESORIOS INODOROS
ACCESORIOS REMOLQUES
AIRE ACONDICIONADO
BOMBAS DE ACHIQUE MANUALES
BOMBAS DE AGUAS NEGRAS
BOMBAS DE AIRE
CABRESTANTES
CALENTADORES DE AGUA
COCINAS
COMPRESORES/EVAPORADORES
DEPOSITOS DE AGUA
DEPOSITOS DE AGUAS NEGRAS
FREGADEROS
FRIGORIFICOS / NEVERAS
FUNDAS ESTANCAS
GRIFOS Y DUCHAS
INODOROS
MANGUERAS
MENAJE
MESAS Y PEDESTALES
SILLAS DE CUBIERTA
VARIOS HABITABILIDAD
Mantenimiento
ANTIFOULING Y PINTURAS
ADITIVOS AGUA POTABLE
CEPILLOS
KIT REPARACION NEUMATICAS
LIMPIEZA Y MANTENIMIENTO
Motor
ACCESORIOS DEPOSITOS
LUBRICANTES/ GRASAS / ACEITE
ADITIVOS MOTOR
ANODOS DE ALUMINIO
ANODOS DE ZINC
ANTIVEGETATIVA
BUJIAS
DEPOSITOS DE COMBUSTIBLE
EXTRACTORES
FILTROS DE ACEITE Y GASOIL
FILTROS DE AGUA
FILTROS DE COMBUSTIBLE
HOMBRES AL AGUA
CONECTORES ,BOMBA Y LINEAS
PINTURAS SPRAY MOTORES
RUEDAS DE ARRASTRE
SILENCIADORES Y ESCAPES
SOPORTES DE MOTOR
VARIOS MOTOR
Navegación y Gobierno
ACC. DIRECCIONES
ACCESORIOS NEUMATICAS
ASIENTOS
COMPASES
DIRECCIONES HIDRAULICAS
DIRECCIONES MECÁNICAS
FLAPS
HELICES DE PROA
MANDOS DE CONTROL Y CABLES
NEUMATICAS
PACKS NEUMATICAS CON MOTOR
PEDESTALES
RELOJERIA MOTOR
SKI WAKEBOARD
UTILES CARTAS NAVEGACIÓN
VARIOS NAVEGACIÓN Y GOBIERNO
VELETAS
VOLANTES
Seguridad
ARNESES-LINEAS DE VIDA
AROS SALV.
BALSAS SALVAVIDAS
ASTAS Y BANDERAS
BOCINAS MANUALES
BOTIQUINES
CHALECOS ESPUMA
CHALECOS INFLABLES
EXTINTORES
LUCES DE SEÑALIZACIÓN
PIROTECNIA
REFLECTORES DE RADAR
VARIOS SALVAMIENTO Y SEGURIDAD
VHF-ANTENAS
Categorías
Ofertas
Amarre y Fondeo
ACC. DE MOLINETES
ANCLAS
BOYAS
CABO AMARRE/ FONDEO
CABULLERIA
CADENA Y ACCESORIOS
DEFENSAS
FUNDAS PARA DEFENSAS y ACCESORIOS
MOLINETES DE ANCLAS QUICK
MOLINETES DE MANIOBRAS QUICK
MUELLES /AMORTIGUADORES DE AMARRE
POLEAS
VARIOS AMARRE Y
Casco y cubierta
BICHEROS
CAJONES PLASTICO
ESCALERAS
GRILLETERIA / SACAVUELTAS
HERRAJES
MOSQUETONES/GUARDACABOS
PASARELAS
PERFILES PARABORDA
PESCANTES
PLATAFORMAS DE BAÑO
PORTACAÑAS
RACORERIA / PASACASCOS / TOMA DE AGUA
REMOS Y PAGAYAS
TOLDOS Y ACCESORIOS
RESPIRADEROS/TOMAS DE CUBIERTA /DE COMBUSTIBLE / TAPONES
Electricidad
ACC. BOMBAS DE ACHIQUE
ACC. BOMBAS DE PRESION
BOCINAS ELECTRICAS
BOMBAS ACEITE/GASOIL
BOMBAS DE ACHIQUE
BOMBAS DE PRESION
BOMBILLAS
CABLE ELECTRICO
BATERIAS Y ACCESORIOS
BASE, CONECTORES Y CABLES CUBIERTA
FAROS
INTERRUPTORES / TIRADORES
JABSCO/FLOJET
LIMPIAPARABRISAS
LUCES DE INTERIOR
LUCES DE NAVEGACION
PLACAS Y FUSIBLES
VARIOS ELECTRICIDAD
AIRES ACONDICIONADOS
GENERADORES
POTABILIZADORAS
Habitabilidad
ACC. DEPOSITOS AGUAS NEGRAS
ACC. DEPOSITOS DE AGUA
ACCESORIOS INODOROS
ACCESORIOS REMOLQUES
AIRE ACONDICIONADO
BOMBAS DE ACHIQUE MANUALES
BOMBAS DE AGUAS NEGRAS
BOMBAS DE AIRE
CABRESTANTES
CALENTADORES DE AGUA
COCINAS
COMPRESORES/EVAPORADORES
DEPOSITOS DE AGUA
DEPOSITOS DE AGUAS NEGRAS
FREGADEROS
FRIGORIFICOS / NEVERAS
FUNDAS ESTANCAS
GRIFOS Y DUCHAS
INODOROS
MANGUERAS
MENAJE
MESAS Y PEDESTALES
SILLAS DE CUBIERTA
VARIOS HABITABILIDAD
Mantenimiento
ANTIFOULING Y PINTURAS
ADITIVOS AGUA POTABLE
CEPILLOS
KIT REPARACION NEUMATICAS
LIMPIEZA Y MANTENIMIENTO
Motor
ACCESORIOS DEPOSITOS
LUBRICANTES/ GRASAS / ACEITE
ADITIVOS MOTOR
ANODOS DE ALUMINIO
ANODOS DE ZINC
ANTIVEGETATIVA
BUJIAS
DEPOSITOS DE COMBUSTIBLE
EXTRACTORES
FILTROS DE ACEITE Y GASOIL
FILTROS DE AGUA
FILTROS DE COMBUSTIBLE
HOMBRES AL AGUA
CONECTORES ,BOMBA Y LINEAS
PINTURAS SPRAY MOTORES
RUEDAS DE ARRASTRE
SILENCIADORES Y ESCAPES
SOPORTES DE MOTOR
VARIOS MOTOR
Navegación y Gobierno
ACC. DIRECCIONES
ACCESORIOS NEUMATICAS
ASIENTOS
COMPASES
DIRECCIONES HIDRAULICAS
DIRECCIONES MECÁNICAS
FLAPS
HELICES DE PROA
MANDOS DE CONTROL Y CABLES
NEUMATICAS
PACKS NEUMATICAS CON MOTOR
PEDESTALES
RELOJERIA MOTOR
SKI WAKEBOARD
UTILES CARTAS NAVEGACIÓN
VARIOS NAVEGACIÓN Y GOBIERNO
VELETAS
VOLANTES
Seguridad
ARNESES-LINEAS DE VIDA
AROS SALV.
BALSAS SALVAVIDAS
ASTAS Y BANDERAS
BOCINAS MANUALES
BOTIQUINES
CHALECOS ESPUMA
CHALECOS INFLABLES
EXTINTORES
LUCES DE SEÑALIZACIÓN
PIROTECNIA
REFLECTORES DE RADAR
VARIOS SALVAMIENTO Y SEGURIDAD
VHF-ANTENAS
Casa
/
Casco y cubierta
/
MOSQUETONES/GUARDACABOS
/
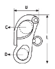
MOSQUETON DRIZA FIJO
MOSQUETON DRIZA FIJO
Fabricado en acero inoxidable .Disponible en varias medidas .
Enviar un correo electrónico a un amigo
MOSQUETON DRIZA FIJO L52
Mosquetón de driza fijo fabricado en acero inoxidable AISI-316. Longitud 55 mm
Sku:
503403
Fecha de entrega:
24 / 48 horas
6,61 €
Cant.:
Añadir a la cesta
Ship to
Seleccionar país
United States
Afghanistan
Albania
Algeria
American Samoa
Andorra
Angola
Anguilla
Antarctica
Antigua and Barbuda
Argentina
Armenia
Aruba
Australia
Austria
Azerbaijan
Bahamas
Bahrain
Bangladesh
Barbados
Belarus
Belgium
Belize
Benin
Bermuda
Bhutan
Bolivia
Bosnia and Herzegowina
Botswana
Bouvet Island
Brazil
British Indian Ocean Territory
Brunei Darussalam
Bulgaria
Burkina Faso
Burundi
Cambodia
Cameroon
Canada
Cape Verde
Cayman Islands
Central African Republic
Chad
Chile
China
Christmas Island
Cocos (Keeling) Islands
Colombia
Comoros
Congo
Congo (Democratic Republic of the)
Cook Islands
Costa Rica
Cote D'Ivoire
Croatia
Cuba
Cyprus
Czech Republic
Denmark
Djibouti
Dominica
Dominican Republic
East Timor
Ecuador
Egypt
El Salvador
Equatorial Guinea
Eritrea
Estonia
Ethiopia
Falkland Islands (Malvinas)
Faroe Islands
Fiji
Finland
France
French Guiana
French Polynesia
French Southern Territories
Gabon
Gambia
Georgia
Germany
Ghana
Gibraltar
Greece
Greenland
Grenada
Guadeloupe
Guam
Guatemala
Guinea
Guinea-bissau
Guyana
Haiti
Heard and Mc Donald Islands
Honduras
Hong Kong
Hungary
Iceland
India
Indonesia
Iran (Islamic Republic of)
Iraq
Ireland
Israel
Italy
Jamaica
Japan
Jordan
Kazakhstan
Kenya
Kiribati
Korea
Korea, Democratic People's Republic of
Kuwait
Kyrgyzstan
Lao People's Democratic Republic
Latvia
Lebanon
Lesotho
Liberia
Libyan Arab Jamahiriya
Liechtenstein
Lithuania
Luxembourg
Macau
Macedonia
Madagascar
Malawi
Malaysia
Maldives
Mali
Malta
Marshall Islands
Martinique
Mauritania
Mauritius
Mayotte
Mexico
Micronesia
Moldova
Monaco
Mongolia
Montenegro
Montserrat
Morocco
Mozambique
Myanmar
Namibia
Nauru
Nepal
Netherlands
Netherlands Antilles
New Caledonia
New Zealand
Nicaragua
Niger
Nigeria
Niue
Norfolk Island
Northern Mariana Islands
Norway
Oman
Pakistan
Palau
Palestine
Panama
Papua New Guinea
Paraguay
Peru
Philippines
Pitcairn
Poland
Portugal
Puerto Rico
Qatar
Reunion
Romania
Russian Federation
Rwanda
Saint Kitts and Nevis
Saint Lucia
Saint Vincent and the Grenadines
Samoa
San Marino
Sao Tome and Principe
Saudi Arabia
Senegal
Serbia
Seychelles
Sierra Leone
Singapore
Slovakia (Slovak Republic)
Slovenia
Solomon Islands
Somalia
South Africa
South Georgia & South Sandwich Islands
South Sudan
Spain
Sri Lanka
St. Helena
St. Pierre and Miquelon
Sudan
Suriname
Svalbard and Jan Mayen Islands
Swaziland
Sweden
Switzerland
Syrian Arab Republic
Taiwan
Tajikistan
Tanzania
Thailand
Togo
Tokelau
Tonga
Trinidad and Tobago
Tunisia
Turkey
Turkmenistan
Turks and Caicos Islands
Tuvalu
Uganda
Ukraine
United Arab Emirates
United Kingdom
United States minor outlying islands
Uruguay
Uzbekistan
Vanuatu
Vatican City State (Holy See)
Venezuela
Viet Nam
Virgin Islands (British)
Virgin Islands (U.S.)
Wallis and Futuna Islands
Western Sahara
Yemen
Zambia
Zimbabwe
*
Other
*
Shipping Method
Name
Estimated Delivery
Price
No shipping options
Apply
Añadir a la lista de deseos
MOSQUETON DRIZA FIJO L66
Mosquetón de driza fijo fabricado en acero inoxidable AISI-316. Longitud 72 mm
Sku:
503404
Fecha de entrega:
24 / 48 horas
8,53 €
Cant.:
Añadir a la cesta
Ship to
Seleccionar país
United States
Afghanistan
Albania
Algeria
American Samoa
Andorra
Angola
Anguilla
Antarctica
Antigua and Barbuda
Argentina
Armenia
Aruba
Australia
Austria
Azerbaijan
Bahamas
Bahrain
Bangladesh
Barbados
Belarus
Belgium
Belize
Benin
Bermuda
Bhutan
Bolivia
Bosnia and Herzegowina
Botswana
Bouvet Island
Brazil
British Indian Ocean Territory
Brunei Darussalam
Bulgaria
Burkina Faso
Burundi
Cambodia
Cameroon
Canada
Cape Verde
Cayman Islands
Central African Republic
Chad
Chile
China
Christmas Island
Cocos (Keeling) Islands
Colombia
Comoros
Congo
Congo (Democratic Republic of the)
Cook Islands
Costa Rica
Cote D'Ivoire
Croatia
Cuba
Cyprus
Czech Republic
Denmark
Djibouti
Dominica
Dominican Republic
East Timor
Ecuador
Egypt
El Salvador
Equatorial Guinea
Eritrea
Estonia
Ethiopia
Falkland Islands (Malvinas)
Faroe Islands
Fiji
Finland
France
French Guiana
French Polynesia
French Southern Territories
Gabon
Gambia
Georgia
Germany
Ghana
Gibraltar
Greece
Greenland
Grenada
Guadeloupe
Guam
Guatemala
Guinea
Guinea-bissau
Guyana
Haiti
Heard and Mc Donald Islands
Honduras
Hong Kong
Hungary
Iceland
India
Indonesia
Iran (Islamic Republic of)
Iraq
Ireland
Israel
Italy
Jamaica
Japan
Jordan
Kazakhstan
Kenya
Kiribati
Korea
Korea, Democratic People's Republic of
Kuwait
Kyrgyzstan
Lao People's Democratic Republic
Latvia
Lebanon
Lesotho
Liberia
Libyan Arab Jamahiriya
Liechtenstein
Lithuania
Luxembourg
Macau
Macedonia
Madagascar
Malawi
Malaysia
Maldives
Mali
Malta
Marshall Islands
Martinique
Mauritania
Mauritius
Mayotte
Mexico
Micronesia
Moldova
Monaco
Mongolia
Montenegro
Montserrat
Morocco
Mozambique
Myanmar
Namibia
Nauru
Nepal
Netherlands
Netherlands Antilles
New Caledonia
New Zealand
Nicaragua
Niger
Nigeria
Niue
Norfolk Island
Northern Mariana Islands
Norway
Oman
Pakistan
Palau
Palestine
Panama
Papua New Guinea
Paraguay
Peru
Philippines
Pitcairn
Poland
Portugal
Puerto Rico
Qatar
Reunion
Romania
Russian Federation
Rwanda
Saint Kitts and Nevis
Saint Lucia
Saint Vincent and the Grenadines
Samoa
San Marino
Sao Tome and Principe
Saudi Arabia
Senegal
Serbia
Seychelles
Sierra Leone
Singapore
Slovakia (Slovak Republic)
Slovenia
Solomon Islands
Somalia
South Africa
South Georgia & South Sandwich Islands
South Sudan
Spain
Sri Lanka
St. Helena
St. Pierre and Miquelon
Sudan
Suriname
Svalbard and Jan Mayen Islands
Swaziland
Sweden
Switzerland
Syrian Arab Republic
Taiwan
Tajikistan
Tanzania
Thailand
Togo
Tokelau
Tonga
Trinidad and Tobago
Tunisia
Turkey
Turkmenistan
Turks and Caicos Islands
Tuvalu
Uganda
Ukraine
United Arab Emirates
United Kingdom
United States minor outlying islands
Uruguay
Uzbekistan
Vanuatu
Vatican City State (Holy See)
Venezuela
Viet Nam
Virgin Islands (British)
Virgin Islands (U.S.)
Wallis and Futuna Islands
Western Sahara
Yemen
Zambia
Zimbabwe
*
Other
*
Shipping Method
Name
Estimated Delivery
Price
No shipping options
Apply
Añadir a la lista de deseos
MOSQUETON DRIZA FIJO L96
Mosquetón de driza fijo fabricado en acero inoxidable AISI-316. Longitud 102 mm
Sku:
503405
Fecha de entrega:
24 / 48 horas
16,81 €
Cant.:
Añadir a la cesta
Ship to
Seleccionar país
United States
Afghanistan
Albania
Algeria
American Samoa
Andorra
Angola
Anguilla
Antarctica
Antigua and Barbuda
Argentina
Armenia
Aruba
Australia
Austria
Azerbaijan
Bahamas
Bahrain
Bangladesh
Barbados
Belarus
Belgium
Belize
Benin
Bermuda
Bhutan
Bolivia
Bosnia and Herzegowina
Botswana
Bouvet Island
Brazil
British Indian Ocean Territory
Brunei Darussalam
Bulgaria
Burkina Faso
Burundi
Cambodia
Cameroon
Canada
Cape Verde
Cayman Islands
Central African Republic
Chad
Chile
China
Christmas Island
Cocos (Keeling) Islands
Colombia
Comoros
Congo
Congo (Democratic Republic of the)
Cook Islands
Costa Rica
Cote D'Ivoire
Croatia
Cuba
Cyprus
Czech Republic
Denmark
Djibouti
Dominica
Dominican Republic
East Timor
Ecuador
Egypt
El Salvador
Equatorial Guinea
Eritrea
Estonia
Ethiopia
Falkland Islands (Malvinas)
Faroe Islands
Fiji
Finland
France
French Guiana
French Polynesia
French Southern Territories
Gabon
Gambia
Georgia
Germany
Ghana
Gibraltar
Greece
Greenland
Grenada
Guadeloupe
Guam
Guatemala
Guinea
Guinea-bissau
Guyana
Haiti
Heard and Mc Donald Islands
Honduras
Hong Kong
Hungary
Iceland
India
Indonesia
Iran (Islamic Republic of)
Iraq
Ireland
Israel
Italy
Jamaica
Japan
Jordan
Kazakhstan
Kenya
Kiribati
Korea
Korea, Democratic People's Republic of
Kuwait
Kyrgyzstan
Lao People's Democratic Republic
Latvia
Lebanon
Lesotho
Liberia
Libyan Arab Jamahiriya
Liechtenstein
Lithuania
Luxembourg
Macau
Macedonia
Madagascar
Malawi
Malaysia
Maldives
Mali
Malta
Marshall Islands
Martinique
Mauritania
Mauritius
Mayotte
Mexico
Micronesia
Moldova
Monaco
Mongolia
Montenegro
Montserrat
Morocco
Mozambique
Myanmar
Namibia
Nauru
Nepal
Netherlands
Netherlands Antilles
New Caledonia
New Zealand
Nicaragua
Niger
Nigeria
Niue
Norfolk Island
Northern Mariana Islands
Norway
Oman
Pakistan
Palau
Palestine
Panama
Papua New Guinea
Paraguay
Peru
Philippines
Pitcairn
Poland
Portugal
Puerto Rico
Qatar
Reunion
Romania
Russian Federation
Rwanda
Saint Kitts and Nevis
Saint Lucia
Saint Vincent and the Grenadines
Samoa
San Marino
Sao Tome and Principe
Saudi Arabia
Senegal
Serbia
Seychelles
Sierra Leone
Singapore
Slovakia (Slovak Republic)
Slovenia
Solomon Islands
Somalia
South Africa
South Georgia & South Sandwich Islands
South Sudan
Spain
Sri Lanka
St. Helena
St. Pierre and Miquelon
Sudan
Suriname
Svalbard and Jan Mayen Islands
Swaziland
Sweden
Switzerland
Syrian Arab Republic
Taiwan
Tajikistan
Tanzania
Thailand
Togo
Tokelau
Tonga
Trinidad and Tobago
Tunisia
Turkey
Turkmenistan
Turks and Caicos Islands
Tuvalu
Uganda
Ukraine
United Arab Emirates
United Kingdom
United States minor outlying islands
Uruguay
Uzbekistan
Vanuatu
Vatican City State (Holy See)
Venezuela
Viet Nam
Virgin Islands (British)
Virgin Islands (U.S.)
Wallis and Futuna Islands
Western Sahara
Yemen
Zambia
Zimbabwe
*
Other
*
Shipping Method
Name
Estimated Delivery
Price
No shipping options
Apply
Añadir a la lista de deseos
Las cookies nos ayudan a ofrecer nuestros servicios. Al utilizar nuestros servicios, usted acepta nuestro uso de cookies.
Vale
Aprende más